podsvietenie budíkov

Moderátor: Blue Lanos

Odpovědět
Uživatelský avatar
marecko141
Příspěvky: 20
Registrován: pát srp 17, 2012 17:32

podsvietenie budíkov

Příspěvek od marecko141 »

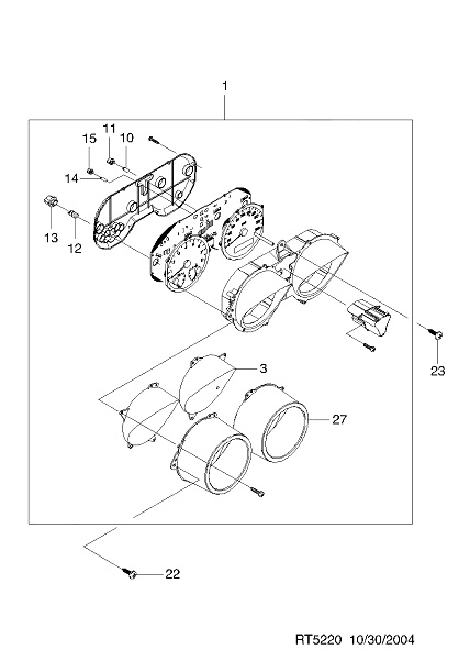
Nevie mi niekto prosím povedať ako sú podsvietené budíky ??? čítal som že sú tam neaké 4 žiarovky......a ako je to s tým keď chcem mať inú farbu ručičiek a inú farbu osvetlenia čísel ??? je jedna alebo viac z tych ziaroviek zvlast pre rucicky alebo ako ???
LANOS 1.5
Reklama
 

Zbyněk
Příspěvky: 82
Registrován: pát úno 24, 2012 20:06
Bydliště: Jesenicko

Re: podsvietenie budíkov

Příspěvek od Zbyněk »

budíky kalos.jpg
Odpovědět

Zpět na „KALOS“